“婚配中”列,记实核销号,即哪笔应收对付和哪笔实收实付互相销账。截图中核销号3暗示10万元采购对付款,和现实领取10万元互相核销;核销号4暗示9万元发卖应收款,和现实收到9万元互相核销。包罗总分类账、资产欠债表、利润表、现金流量表等。Odoo会计报表能够导出为PDF格局文件,或者Execl格局文件。
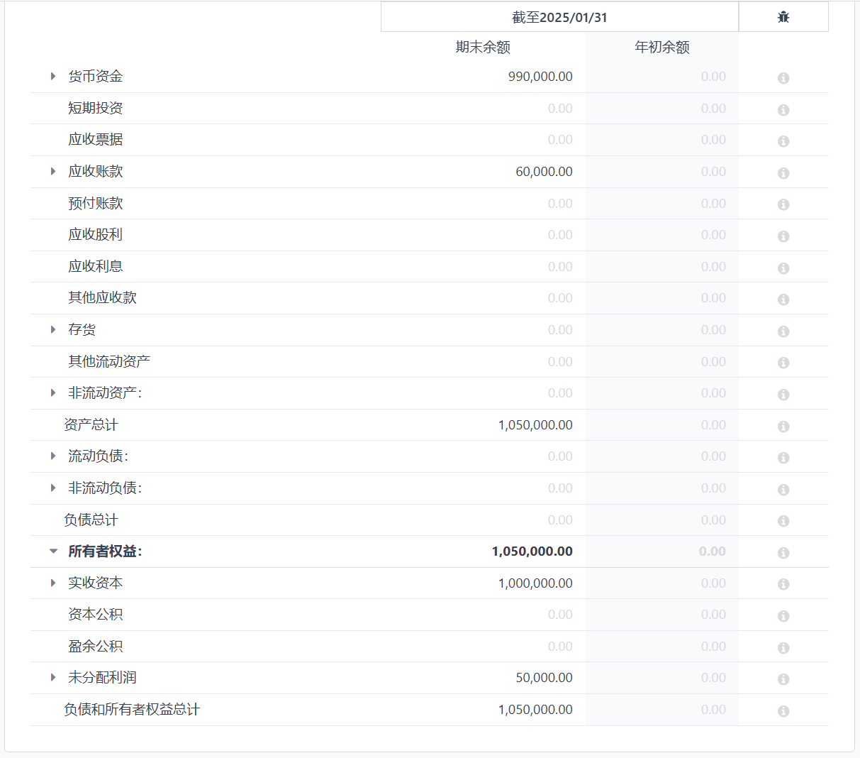
从表中晓得,发生一个月的营业后,公司总资产105万,此中银行存款99万,应收账款6万。响应的,股东权益变为105万,此中投资款100万,未分派利润5万。
前述营业发生正在几个月内,截图中为了数据演示便利,都集中录入正在2025年1月份。一共八笔会计凭证,此中第一笔“期初凭证”,录入系统上线期初,各个会计科目标余额。
本节以一个虚拟公司的运做示例,快速总览一下Odoo ERP中若何处置会计凭证、会计报表、会计凭证打印存档。
公司会计记账叫会计凭证,或者记账凭证。一笔会计凭证,必有借方科目,贷方科目,借方金额,贷方金额,以及记账日期。公司现实利用的记账凭证的样子,如下图示例。这个示例的会计记账,暗示公司向张凡赊购了二十五万元四角七分的水泥砖。
开源智制(OSCG)是大中华地域成立最早的 Odoo金牌办事机构 , 2009年创立 ,目前已成功办事 1200家+ 国内分歧业业的企业客户群体,通过全球领先的免费开源ERP Odoo,为中小企业客户打制 ,价钱厚道 的企业消息化处理方案。
发卖4万库存,借记 应收账款 6万、从停业务成本 4万,贷记 从停业务收入 6万、库存商品 4万。
1。 最后,老板投资100万现金设立公司。此时公司银行账上有100万现金,同时老板有100万的股东权益。现金是资产,此时公司的资产欠债表上,现金100万,权益100万,欠债为0。
再来看一下现金流量表。如下面截图,1月份发卖收款9万,采购付款10万,运营勾当发生的现金流量-1万。收到投资款100万,期末现金余额99万。
月末查抄会计账目没有问题后,打印会计凭证存档。Odoo会计凭证默认导出成PDF格局文件,如下截图。一个凭证占用一张A5纸(A4纸张的一半大小)。PDF文件打印时候,一张A4纸打印两页,即打印两个凭证。
从会计记账的角度,资产老是等于欠债加权益,资产添加了,欠债或者权益也必然添加,反之,资产削减了,欠债或权益也必然削减。这是复式记账,或者说假贷记账法的根基道理。
4。 又一个月后,领取了供应商欠款10万,收到了客户欠款9万,同时残剩的库存4万都卖掉了,卖了6万,还到钱。此时,公司库存没有了,债务有6万,因而资产总额105万;公司欠债没有了,股东权益添加了2万,变成了105万。资产105万 = 权益105万。
应收对付类会计分录,若是实收实付了,系统从动核销应收对付,此字段记实核销号码。有核销号码的,暗示该应收对付已核销了,或者部门核销了。
目前看起来,Odoo默认的凭证打印格局不是很美妙,不外Odoo的打印格局都能够本人调整。现实利用的时候,调整一下格局,例如,假贷方的金额加上千分符显示。
应收对付账款,对应的到期日期。例如,签定的付款条目为60账期,系统会按照日期,加60天,从动计较此到期日期。往来账龄报表即基于此到期日期计较。
一个月后,卖出去6万元,收入9万元,利润3万元。借记 应收账款9万、从停业务成本 6万,贷记 从停业务收入 9万、库存商品 6万。月底结转利润3万,转入本年利润科目,借记 从停业务收入9万,贷记 从停业务成本6万、本年利润3万。
3。 一个月后,10万元商品卖出去了6万,卖了9万,相当于赔了3万。和客户协商的是账期30天,因而也没有现实收到钱。此时,仓库库存还剩下4万元,同时多了9万元的债务。债务属于资产,此时公司资产有100万现金 + 4万元库存 + 9万元债务 = 113万;公司欠债不变,仍是10万,由于赔了3万元,股东权益多了3万,有103万。因而资产113万 = 欠债10万 + 权益103万。
往来账,也即应收对付类会计记账时候,对应的客户、供应商。一般的会计软件中,没有这个字段。为了区分分歧供应商的对付账款,或者区分分歧客户的应收账款,一种常见做法是,为每个供应商和客户设立一个对应的会计科目,如前面示例中的“对付账款-张凡”。正在OdooERP中,间接正在会计分录上添加合做伙伴字段,不需要通细致分会计科目来处理这个问题。
又一个月后,领取供应商欠款,借记 对付账款 10万,贷记 银行存款 10万;收到客户欠款,借记 银行存款 9万,贷记 应收账款 9万。
即会计科目,示例截图的凭证BILL/2024/12/0005是采购对应的记账凭证。采购入库时候借记 库存商品,贷记 对付暂估。因此收到采购时候,借记 对付暂估,贷记 对付账款。
2。 尔后,老板采购了10万元商品,放正在仓库里。因而还没有现实付钱。此时,公司仓库多了10万元库存,同时欠供应商10万元欠债。库存是资产,此时公司的资产欠债表上,资产有100万现金,10万元库存;权益有100万,欠债有10万。资产 = 欠债 + 权益?。
公司焦点团队均来自各互联网大厂取四大征询公司, 有着稠密的开源手艺布景和现实客户方营业架构设想能力 ,公司持续十年获得 Odoo全球焦点伙伴荣誉 ,Odoo亚太地域金牌办事机构,具有10年+的行业经验,前往搜狐,查看更多。
Odoo是全球排名第一的免费开源ERP系统,以其强大的功能和模块化设想著称,合用于各类规模及类型的企业。Odoo集成了出产、采购、发卖、库存、财政、人力资本、市场营销、电子商务等多个模块,供给一坐式办理企业的营业流程,是超越SAP、Oracle、金蝶、鼎捷等一众友商的完满平替首选产物。
总分类账列出期间各个科目标发生额及余额,点击能够展开科目标明细账。从上表晓得,月末银行存款余额99万,应收账款6万,对付账款都结清了,库存商品也没有了。
该笔分录涉及的产物,正在存货核算,也即入库出库相关的会计凭证中,若是采用“永续盘存制”,会计分录上能够记实入库出库的产物及数量。Odoo中的会计分录,还有产物数量字段,示例截图中没有显示出来。







